Графический каталог запасных частей к технике: LOVOL TR2SA2204-001K. Механизм управления КПП 2

zoom-in zoom-out enlarge shrink circle-right circle-left file-text2 info cart spinner6
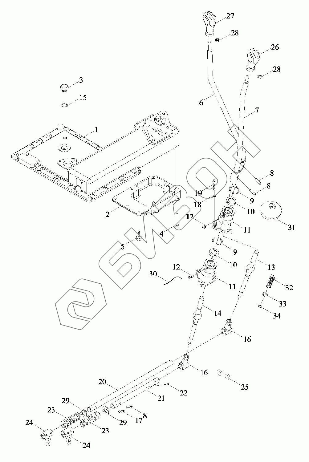
1
2
3
4
5
6
7
8
8
8
9
9
10
10
11
11
12
12
13
14
15
16
16
17
18
19
20
21
22
23
23
24
24
25
26
27
28
28
29
29
30
31
32
33
34
Позиция на иллюстрации Заводской номер детали Название детали Цена
TG4S373020000 TG4S373020000 Механизм управления КПП в сборе
Загрузка ...
TG4S373020004 TG4S373020004 Крышка управления
Загрузка ...
1 TG4S373020005a Крышка управления
Загрузка ...
2 TS17373020030 Крышка нижняя
Загрузка ...
3 FT800.40.172 Болт полый
Загрузка ...
4 GBT16674.1-M8X60-8.8-A2L Болт с фланцем
Загрузка ...
5 GBT16674.1-M8X25-8.8-A2L Болт шестигранный фланцевый
Загрузка ...
6 TG4S373020010 Рычаг управления
Загрузка ...
7 TG4S373020008 Рычаг управления
Загрузка ...
8 QLWZB140-8X32 Палец
Загрузка ...
9 GBT893.1-40 Кольцо стопорное для отверстий
Загрузка ...
10 FT800A.37.305 Гнездо нейлоновое
Загрузка ...
11 TD800A.373B.1-04 Основание опорное
Загрузка ...
12 FT800A.37.326 Штифт фиксирующий
Загрузка ...
13 TG4S373020007 Рычаг управления
Загрузка ...
14 TG4S373020006 Рычаг управления
Загрузка ...
15 JBT982-14 Шайба комбинированная уплотнительная
Загрузка ...
16 TG4S373020012a Поводок
Загрузка ...
17 QLWZB140-5X28 Палец
Загрузка ...
18 GBT93-10-A3L Гровер
Загрузка ...
19 GBT70.1-M10X30-8.8-A3L Винт с цилиндрической головкой и внутренним шестигранником
Загрузка ...
20 TG4S373020016 Рукоятка передачи
Загрузка ...
21 TG4S373020015 Рукоятка передачи
Загрузка ...
22 QLWZB140-5X32 Палец
Загрузка ...
23 TF1004.373.1-01 Пружина
Загрузка ...
24 TG1204.383A.1-01 Поводок
Загрузка ...
25 Q72224 Пробка коническая
Загрузка ...
26 TS04374010001 Ручка управления
Загрузка ...
27 TG4S373020018 Шар рукоятки
Загрузка ...
28 GBT6170-M10-8-A3L Гайка шестигранная тип 1
Загрузка ...
29 FT800A.37.314 Втулка
Загрузка ...
30 TF1004.374-02 Проволока стальная низкоуглеродистая СЗ-1,4х250
Загрузка ...
31 FT800A.37.307 Чехол резиновый
Загрузка ...
32 TB604.374B.1-15 Пружина
Загрузка ...
33 GBT848-16-A3L Шайба небольшая
Загрузка ...
34 TB604.374B.1-14 Кольцо стопорное
Загрузка ...
Содержащиеся в справочниках-каталогах запасные части и детали не предлагаются к продаже, а носят исключительно информационный характер
Сайт использует файлы cookie, обрабатываемые вашим браузером. Подробнее об этом вы можете узнать в Политике cookie.
Принять Настроить Отклонить