Графический каталог запасных частей к технике: Клевер КРП-302 "Беркут". Схема гидравлическая принципиальная

zoom-in zoom-out enlarge shrink circle-right circle-left file-text2 info cart spinner6
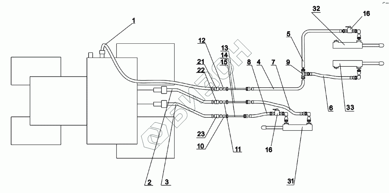
1
2
3
4
5
6
7
8
9
10
11
12
13
14
15
16
16
21
22
23
31
32
33
Позиция на иллюстрации Заводской номер детали Название детали Цена
1 Н.036.82.00.050 Рукав высокого давления I-10
Загрузка ...
2 Н.036.87.250 Рукав высокого давления I-10
Загрузка ...
3 Н.036.87.250 Рукав высокого давления I-10
Загрузка ...
4 8.02.012.0.21/63.3500 ТУ4791-001-24263187-2002 Рукав высокого давления 8.02.012.0.21/63.3500 ТУ4791-001-24263187-2002
Загрузка ...
5 8.02.012.0.21/63.1000 ТУ4791-001-24263187-2002 Рукав высокого давления 8.02.012.0.21/63.1000 ТУ4791-001-24263187-2002
Загрузка ...
6 8.02.012.0.21/63.1600 ТУ4791-001-24263187-2002 Рукав высокого давления 8.02.012.0.21/63.1600 ТУ4791-001-24263187-2002
Загрузка ...
7 8.02.012.0.21/63.850 ТУ4791-001-24263187-2002 Рукав высокого давления 8.02.012.0.21/63.850 ТУ4791-001-24263187-2002
Загрузка ...
8 8.02.012.0.21/63.650 ТУ4791-001-24263187-2002 Рукав высокого давления 8.02.012.0.21/63.650 ТУ4791-001-24263187-2002
Загрузка ...
9 TNW 06 H1 Т-образное резьбовое соединение
Загрузка ...
10 КРП-302.09.110 Штуцер проходной
Загрузка ...
11 КРП-302.09.110 Штуцер проходной
Загрузка ...
12 КРП-302.09.110 Штуцер проходной
Загрузка ...
13 КРП-302.09.090 Маслопровод
Загрузка ...
14 КРП-302.09.090 Маслопровод
Загрузка ...
15 КРП-302.09.090 Маслопровод
Загрузка ...
16 BKHS-06-2 Кран шаровый
Загрузка ...
21 Н.036.50.000 Муфта разрывная
Загрузка ...
22 Н.036.50.000 Муфта разрывная
Загрузка ...
23 Н.036.50.000 Муфта разрывная
Загрузка ...
31 КРП-302.09.070Б Гидроцилиндр
Загрузка ...
32 КРП-302.09.080Б Гидроцилиндр
Загрузка ...
33 КРП-302.09.080А-01 Гидроцилиндр
Загрузка ...
Содержащиеся в справочниках-каталогах запасные части и детали не предлагаются к продаже, а носят исключительно информационный характер