Графический каталог запасных частей к технике: Lemken Solitair 12/1200KD. 68210322 Hopper

zoom-in zoom-out enlarge shrink circle-right circle-left file-text2 info cart spinner6
1
2
3
4
5
5
7
8
10
10
11
12
13
14
15
15
15
15
16
16
17
18
19
20
21
22
23
24
26
26
27
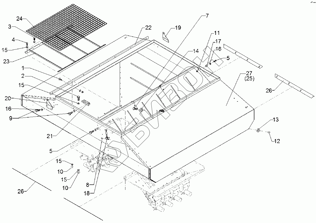
Позиция на иллюстрации Заводской номер детали Название детали Цена
1 301 1201 Bolt, cup square head
Загрузка ...
2 301 7513 Hexagon bolt
Загрузка ...
3 301 7502 Hexagon bolt
Загрузка ...
4 301 6751 Hexagon bolt
Загрузка ...
5 301 7504 Hexagon bolt
Загрузка ...
7 301 7510 Hexagon bolt
Загрузка ...
8 31510007 Rivet
Загрузка ...
10 303 0800 Selflocking nut
Загрузка ...
11 303 0801 Selflocking nut
Загрузка ...
12 303 0802 Selflocking nut
Загрузка ...
13 305 6112 Washer
Загрузка ...
14 305 6984 Washer
Загрузка ...
15 305 8702 Washer
Загрузка ...
16 305 8695 Washer
Загрузка ...
17 317 9482 Bush
Загрузка ...
18 331 6005 Securing rubber, cpl.
Загрузка ...
19 482 5328 Plate
Загрузка ...
20 482 5329 Plate
Загрузка ...
21 482 5344 Holder
Загрузка ...
22 482 5337 Angle plate
Загрузка ...
23 482 5502 Grid
Загрузка ...
24 482 5540 Hopper grate
Загрузка ...
26 48210400 Spacerplate
Загрузка ...
27 58210166 Hopper
Загрузка ...
Содержащиеся в справочниках-каталогах запасные части и детали не предлагаются к продаже, а носят исключительно информационный характер