Графический каталог запасных частей к технике: Lemken Solitair 9/300. Holder 120x120 Solitair

zoom-in zoom-out enlarge shrink circle-right circle-left file-text2 info cart spinner6
1
2
3
4
5
6
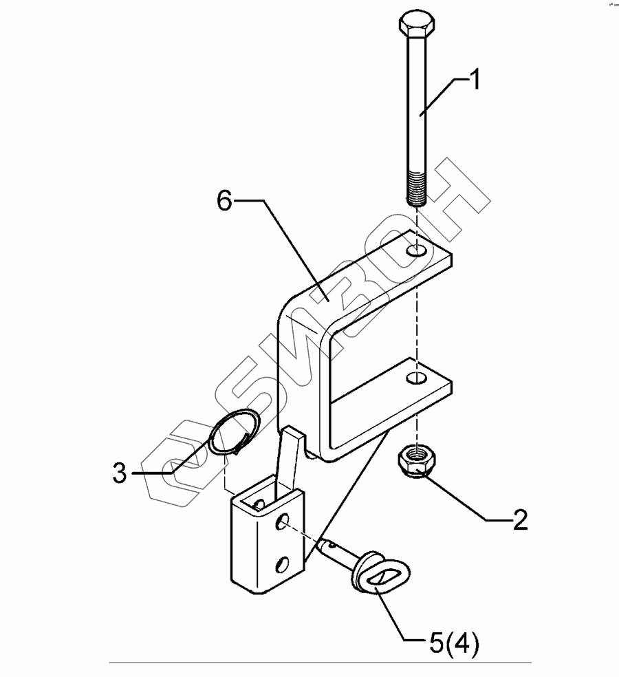
Позиция на иллюстрации Заводской номер детали Название детали Цена
1 301 4117 Bolt
Загрузка ...
2 303 0935 Гайка шлицевая NM16-8 Zn DIN985
Загрузка ...
3 305 8551 Стопорное кольцо Di41x3 A2
Загрузка ...
4 313 7807 Штифт с рукояткой
Загрузка ...
5 313 8642 Штифт с рукояткой
Загрузка ...
6 457 2650 Holder
Загрузка ...
Содержащиеся в справочниках-каталогах запасные части и детали не предлагаются к продаже, а носят исключительно информационный характер
Сайт использует файлы cookie, обрабатываемые вашим браузером. Подробнее об этом вы можете узнать в Политике cookie.
Принять Настроить Отклонить