 
              | Позиция на иллюстрации | Заводской номер детали | Название детали | Цена | |
|---|---|---|---|---|
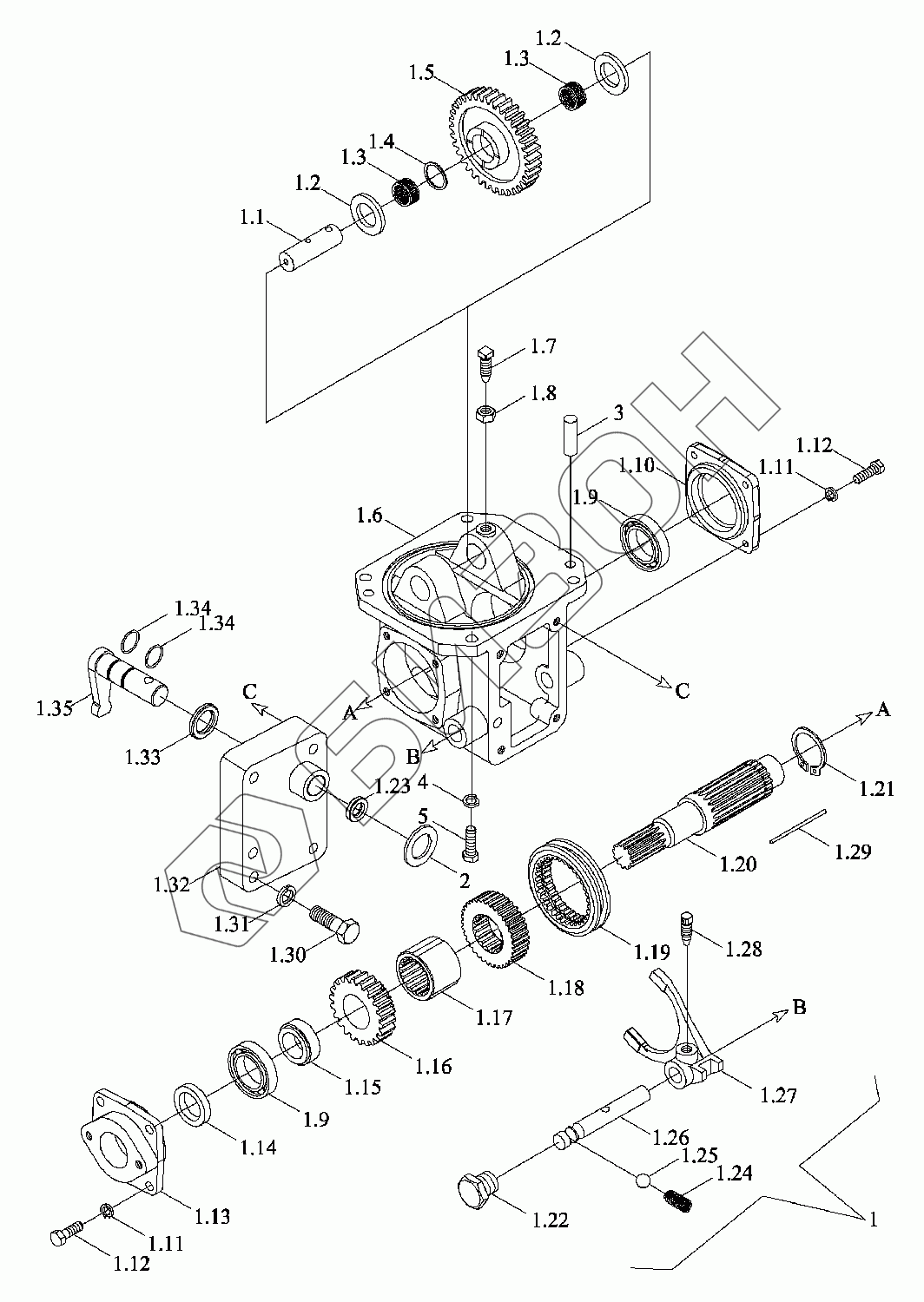
| TM3B421150000 | TM3B421150000 | Корпус раздаточной передачи в сборе | 
                  
                  Загрузка ...
                 | |
| 1 | TM3B421150001 | Корпус раздаточной коробки | 
                  
                  Загрузка ...
                 | |
| 1.1 | TB554.421B.1-05 | Вал | 
                  
                  Загрузка ...
                 | |
| 1.2 | FT304.42F.103 | Кольцо упорное | 
                  
                  Загрузка ...
                 | |
| 1.3 | GBT20056-K25X31X20 | Роликоподшипник радиальный игольчатый с кронштейном | 
                  
                  Загрузка ...
                 | |
| 1.4 | FT304.42.126 | Втулка отсечная | 
                  
                  Загрузка ...
                 | |
| 1.5 | TB554.421B.1-01 | Паразитная шестерня | 
                  
                  Загрузка ...
                 | |
| 1.6 | TB554.421B.1-03a | Корпус картера | 
                  
                  Загрузка ...
                 | |
| 1.7 | FT304.42.112 | Винт | 
                  
                  Загрузка ...
                 | |
| 1.8 | GBT6173-M10X1-05-A2L | Гайка шестигранная тонкая | 
                  
                  Загрузка ...
                 | |
| 1.9 | GBT276-6306 | Подшипник шариковый радиальный | 
                  
                  Загрузка ...
                 | |
| 1.10 | FT304.42.117 | Крышка подшипника | 
                  
                  Загрузка ...
                 | |
| 1.11 | GBT93-8-A3L | Гровер | 
                  
                  Загрузка ...
                 | |
| 1.12 | GBT5783-M8X20-8.8-A2L | Болт с шестигранной головкой | 
                  
                  Загрузка ...
                 | |
| 1.13 | FT304.42F.106 | Седло подшипника | 
                  
                  Загрузка ...
                 | |
| 1.14 | GBT9877.1-FB30X52X7D | Втулка уплотнительная | 
                  
                  Загрузка ...
                 | |
| 1.15 | FT804.42.119a | Втулка | 
                  
                  Загрузка ...
                 | |
| 1.16 | TB554.421D.1-01 | Зубчатое колесо | 
                  
                  Загрузка ...
                 | |
| 1.17 | TB554.421B.1-06 | Втулка | 
                  
                  Загрузка ...
                 | |
| 1.18 | FT804.42.115 | Муфта зубчатая | 
                  
                  Загрузка ...
                 | |
| 1.19 | TB504.421.1-04 | Муфта зубчатого зацепления | 
                  
                  Загрузка ...
                 | |
| 1.20 | TB554.421B.1-04 | Вал | 
                  
                  Загрузка ...
                 | |
| 1.21 | GBT894.1-38 | Кольца стопорные для валов | 
                  
                  Загрузка ...
                 | |
| 1.22 | GBT2878.4-M18-PLEH-A3L-NBR | Пробка резьбовая с внутренним шестигранником | 
                  
                  Загрузка ...
                 | |
| 1.23 | TH04413010012 | Сальник | 
                  
                  Загрузка ...
                 | |
| 1.24 | FT800.37.139 | Пружина | 
                  
                  Загрузка ...
                 | |
| 1.25 | GBT308-10-G100-b | Шарик стальной | 
                  
                  Загрузка ...
                 | |
| 1.26 | TB554.421B.1-08 | Ось вилки переключения | 
                  
                  Загрузка ...
                 | |
| 1.27 | TB554.421B.1-07 | Отводная вилка | 
                  
                  Загрузка ...
                 | |
| 1.28 | FT800.37.194 | Винт установочный | 
                  
                  Загрузка ...
                 | |
| 1.29 | TA800.212B-02 | Проволока стальная низкоуглеродистая СЗ-1,4 | 
                  
                  Загрузка ...
                 | |
| 1.30 | GBT5782-M10X45-8.8-A3L | Болт | 
                  
                  Загрузка ...
                 | |
| 1.31 | GBT93-10-A3L | Гровер | 
                  
                  Загрузка ...
                 | |
| 1.32 | TB554.423B-01b | Боковая крышка | 
                  
                  Загрузка ...
                 | |
| 1.33 | TB554.423B-02 | Втулка отсечная | 
                  
                  Загрузка ...
                 | |
| 1.34 | GBT3452.1-17.0X1.80G | Кольцо уплотнительное резиновое для гидропневматики | 
                  
                  Загрузка ...
                 | |
| 1.35 | TB554.423B.1a | Вал | 
                  
                  Загрузка ...
                 | |
| 2 | TB554.421-01 | Втулка | 
                  
                  Загрузка ...
                 | |
| 3 | GBT119.1-10m6X20-A3L | Штифт цилиндрический | 
                  
                  Загрузка ...
                 | |
| 4 | GBT93-10-A3L | Гровер | 
                  
                  Загрузка ...
                 | |
| 5 | GBT5783-M10X30-10.9-A3L | Болт с шестигранной головкой | 
                  
                  Загрузка ...
                 | 
Узнавайте первыми!
о новинках в отрасли, акциях магазина, новостях компании и многом другом!
									Нажимая на кнопку “Подписаться”,
									Вы соглашаетесь с
									условиями обработки персональных данных