Графический каталог запасных частей к технике: LOVOL TD1SA904-028K. Система кондиционирования воздуха - двигатель

zoom-in zoom-out enlarge shrink circle-right circle-left file-text2 info cart spinner6
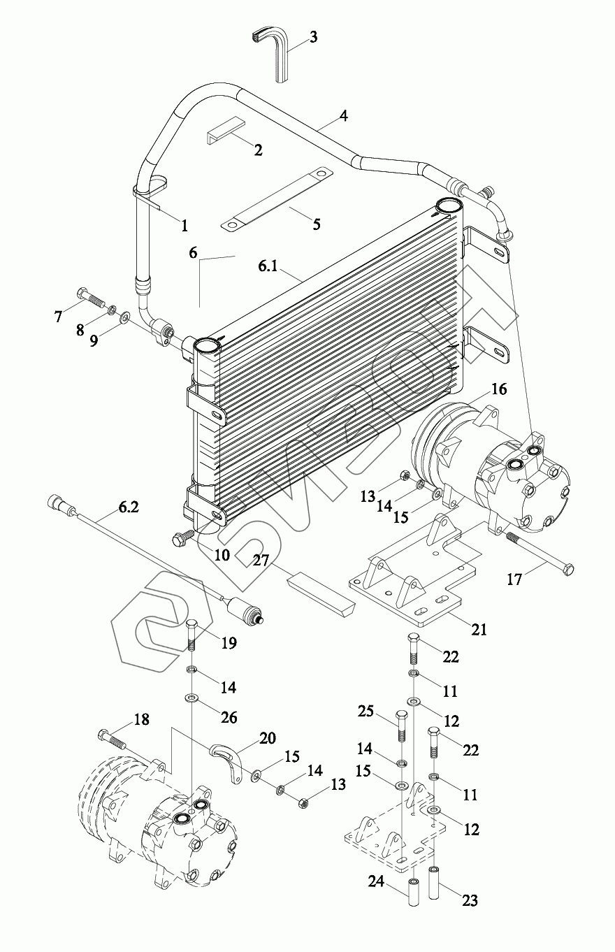
1
2
3
4
5
6
6.1
6.2
7
8
9
10
11
11
12
12
13
13
14
14
14
14
15
15
15
16
17
18
19
20
21
22
22
23
24
25
26
27
Позиция на иллюстрации Заводской номер детали Название детали Цена
TS06812010000 TS06812010000 Система кондиционирования воздуха в сборе двигателя
Загрузка ...
1 Q67407200 Лента стяжная
Загрузка ...
2 TS06812010005 Приклейка
Загрузка ...
3 TS06812010004 Лента защитная
Загрузка ...
4 TS06812010002 Шланг
Загрузка ...
5 TD800.811A-04 Хомут трубный
Загрузка ...
6 TC05812040009 Конденсатор
Загрузка ...
6.1 TC05812040008 Корпус оправки
Загрузка ...
6.2 TC05812090012 Выключатель
Загрузка ...
7 GBT5783-M6X25-8.8-A2L Болт с шестигранной головкой
Загрузка ...
8 GBT93-6-A0P Гровер
Загрузка ...
9 GBT97.1-6-A0P Шайба плоская
Загрузка ...
10 GBT16674.1-M8X16-8.8-A2L Болт шестигранный фланцевый
Загрузка ...
11 GBT93-8-A0P Гровер
Загрузка ...
12 GBT97.1-8-A0P Шайба плоская
Загрузка ...
13 GBT6170-M10-8-A3L Гайка шестигранная тип 1
Загрузка ...
14 GBT93-10-A0P Гровер
Загрузка ...
15 GBT97.1-10-A0P Шайба плоская
Загрузка ...
16 TS06812010003 Компрессор
Загрузка ...
17 TD800.811-20 Болт
Загрузка ...
18 GBT5783-M10X40-8.8-A3L Болт с шестигранной головкой
Загрузка ...
19 GBT5786-M10X1.25X35-8.8-A2L Болт с шестигранной головкой
Загрузка ...
20 TD800.812H.4 Плита
Загрузка ...
21 TC05812010004 Кронштейн
Загрузка ...
22 GBT5782-M8X110-8.8-A2L Болт с шестигранной головкой
Загрузка ...
23 TC05812010007 Рукав перегородки
Загрузка ...
24 TC05812010008 Втулка отсечная
Загрузка ...
25 GBT5783-M10X25-8.8-A3L Болт с шестигранной головкой
Загрузка ...
26 GBT97.1-10-A3L Шайба плоская
Загрузка ...
27 TC05812010010 Ремень
Загрузка ...
Содержащиеся в справочниках-каталогах запасные части и детали не предлагаются к продаже, а носят исключительно информационный характер