Графический каталог запасных частей к технике: LOVOL TD1SA904-050K. Монтажный блок подъемника 2

zoom-in zoom-out enlarge shrink circle-right circle-left file-text2 info cart spinner6
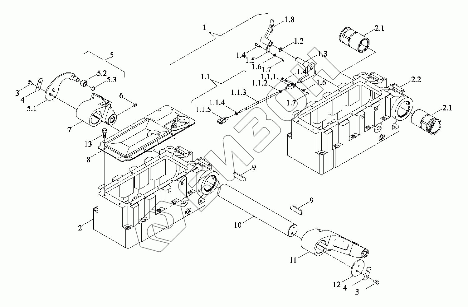
1
1.1
1.1.1
1.1.2
1.1.3
1.1.4
1.1.5
1.2
1.3
1.4
1.4
1.5
1.6
1.7
2
2.1
2.1
2.2
3
3
4
4
5
5.1
5.2
5.3
6
7
8
9
9
10
11
12
13
Позиция на иллюстрации Заводской номер детали Название детали Цена
TS06551080000 TS06551080000 Сборка подъемника в сборе 003
Загрузка ...
1 TS06551080012 Механизм обратной связи в сборе
Загрузка ...
1.1 TS06551080021 Рычаг регулирующий в сборе
Загрузка ...
1.1.1 TD800.55.2.2-03 Вилка левого рычага
Загрузка ...
1.1.2 GBT6170-M8-LH-8-A2L Гайка шестигранная тип 1 M8-LH-8-A2L
Загрузка ...
1.1.3 TS06551080022 Рычаг регулировки
Загрузка ...
1.1.4 GBT6170-M8-8-A2L Гайка шестигранная тип 1 M8-8-A2L
Загрузка ...
1.1.5 TD800.55.2.2-01 Вилка правого рычага
Загрузка ...
1.2 GBT894.1-20 Кольцо упругое стопорное для вала
Загрузка ...
1.3 TS06551080013 Сварка опорного шпинделя
Загрузка ...
1.4 GBT882-B8X30-A3L Штифт B8X30-A3L
Загрузка ...
1.5 TS06551080016 Сварка пластины отзывов
Загрузка ...
1.6 GBT97.1-8-A3L Шайба плоская
Загрузка ...
1.7 GBT91-3.2X16-A3L Шплинт разводной 3.2X16-A3L
Загрузка ...
2 TS06551080002 Прессование корпуса клапана в сборе
Загрузка ...
2.1 FT800.55A.111 Втулка латунная
Загрузка ...
2.2 TS06551080003 Корпус подъемника
Загрузка ...
3 GBT5783-M10X20-8.8-A3L Болт с шестигранной головкой M10X20-8.8-A3L
Загрузка ...
4 FT800.55A.112 Прокладка-заглушка
Загрузка ...
5 TS06551080010 Рычаг обратной связи в сборе
Загрузка ...
5.1 TS06551080011 Сварка рычага отзывов
Загрузка ...
5.2 TD800.55.1-01 Ролик
Загрузка ...
5.3 GBT894.1-20 Кольцо упругое стопорное для вала
Загрузка ...
6 JBT7940.1-M10X1 Пресс-маслёнка M10X1
Загрузка ...
7 TD800.55.5 Рычаг правый подъемный
Загрузка ...
8 TS06551080004 Крышка верхняя в сборе
Загрузка ...
9 GBT1096-20X12X80 Шпонка плоская
Загрузка ...
10 FT800.55A.107 Валы подъемные
Загрузка ...
11 TD800.55.4 Рычаг левый подъемный
Загрузка ...
12 FT800.55A.115 Пластина прижимная подъемного рычага
Загрузка ...
13 GBT5789-M8X20-8.8-A2L Болт M8X16-10.9-A2L
Загрузка ...
Содержащиеся в справочниках-каталогах запасные части и детали не предлагаются к продаже, а носят исключительно информационный характер
Сайт использует файлы cookie, обрабатываемые вашим браузером. Подробнее об этом вы можете узнать в Политике cookie.
Принять Настроить Отклонить