Графический каталог запасных частей к технике: LOVOL TD1SA904-050K. Боковой механизм управления 2

zoom-in zoom-out enlarge shrink circle-right circle-left file-text2 info cart spinner6
1
2
2
3
4
5
6
6
7
7
7
7
8
8
9
9
10
11
11
12
12
13
14
15
15
16
17
17
18
18
19
19
20
21
22
23
23
24
24
25
26
27
28
28
29
29
29
29
29
29
29
30
31
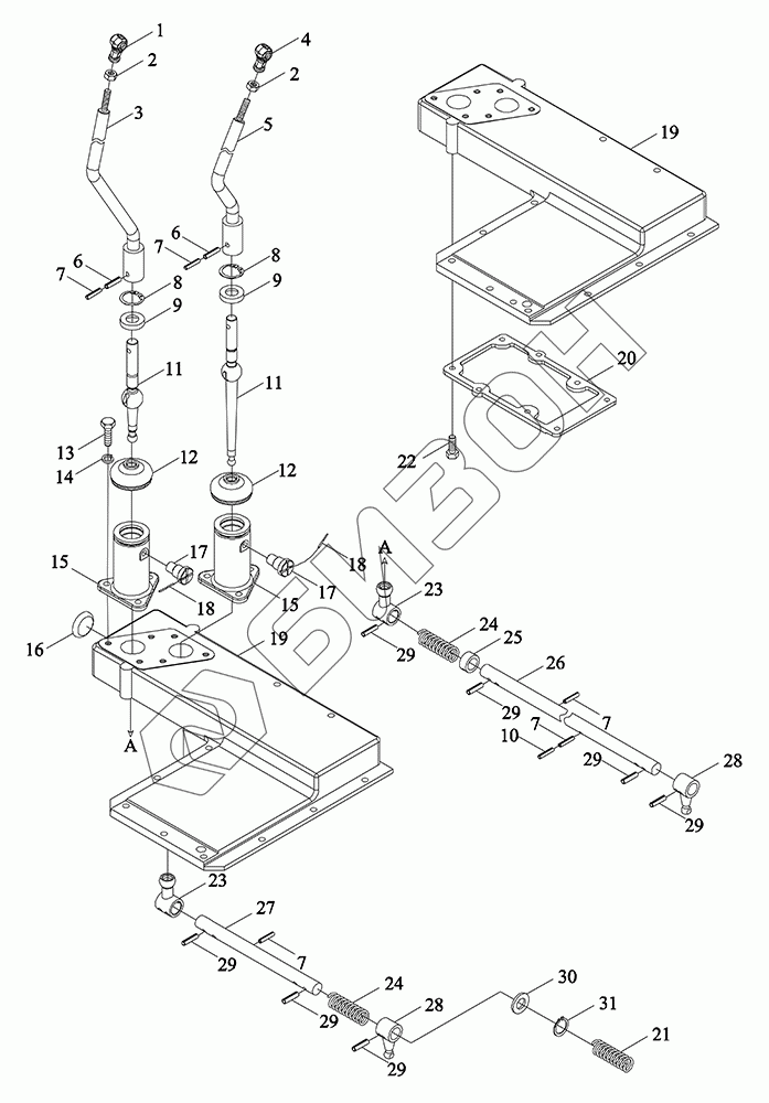
Позиция на иллюстрации Заводской номер детали Название детали Цена
TS06373010003 TS06373010003 Механизм управления боковой в сборе
Загрузка ...
TS06373040000 TS06373040000 Механизм управления боковой в сборе
Загрузка ...
1 TS06373010002 Рукоятка управления демультипликатором
Загрузка ...
2 GBT6170-M10-8-A3L Гайка шестигранная тип 1 M10-8-A3L
Загрузка ...
3 TD800A.373B.1.3b Сварка рычага вспомогательного переключения передач
Загрузка ...
4 TS06373010001 Рукоятка переключения передач основная переменная
Загрузка ...
5 TD800A.373B.1.2b Сварка рычага главного переключения передач
Загрузка ...
6 GBT879.1-8X35 Штифт зластичный цилиндрический 8X35
Загрузка ...
7 GBT879.1-5X32 Штифт цилиндрический эластичный 5X32
Загрузка ...
8 GBT893.1-40 Кольцо стопорное для отверстий
Загрузка ...
9 FT800A.37.305 Гнездо нейлоновое
Загрузка ...
10 GBT879.1-3X32 Штифт цилиндрический эластичный 3X32
Загрузка ...
11 TD800A.373B.1-03a Рычаг нижний управляющий
Загрузка ...
12 FT800A.37.307 Втулка резиновая
Загрузка ...
13 GBT70.1-M10X20-8.8-A3L Винт с цилиндрической головкой и внутренним шестигранником M10X20-8.8-A3L
Загрузка ...
14 GBT93-10-A3L Шайба стандартная пружинная
Загрузка ...
15 TD800A.373B.1-04 Опора рычага переключения передач вспомогательного переключения передач
Загрузка ...
16 Q72224 Элемент чашеобразный штекерный
Загрузка ...
17 FT800A.37.326 Штифт фиксирующий рычага переключения передач
Загрузка ...
18 TF1004.374-02 Проволока стальная низкоуглеродистая СЗ-1,4х250
Загрузка ...
19 FT800A.37N.308a Крышка управления боковая
Загрузка ...
20 FT800A.37.309a Крышка нижняя бокового управления
Загрузка ...
21 TB604.374B.1-15 Пружина рычага переключения передач
Загрузка ...
22 GBT16674.1-M8X20-8.8-A2L Болт шестигранный фланцевый M8X20-8.8-A2L
Загрузка ...
23 TD800A.373B.1-02c Головка управления рычагом переключения передач
Загрузка ...
24 TF1254.373.1-02 Пружина возвратная
Загрузка ...
25 FT800A.37.314 Проставка
Загрузка ...
26 TD800A.373B.1-01b Рычаг переключения передач
Загрузка ...
27 FT800A.37.312b Рычаг переключения главной передачи
Загрузка ...
28 FT800A.37.315a Головка управления внутренняя
Загрузка ...
29 GBT879.1-8X32 Штифт цилиндрический эластичный 8X32
Загрузка ...
30 GBT97.1-16-A3L Шайба плоская
Загрузка ...
31 TB604.374B.1-14 Кольцо упругое стопорное для вала
Загрузка ...
Содержащиеся в справочниках-каталогах запасные части и детали не предлагаются к продаже, а носят исключительно информационный характер