Графический каталог запасных частей к технике: LOVOL TM3Y1A854-008K. Сцепление

zoom-in zoom-out enlarge shrink circle-right circle-left file-text2 info cart spinner6
1
2
3
4
5
5
6
7
8
9
9
10
10
11
12
13
14
15
15
16
16
17
18
19
19
20
21
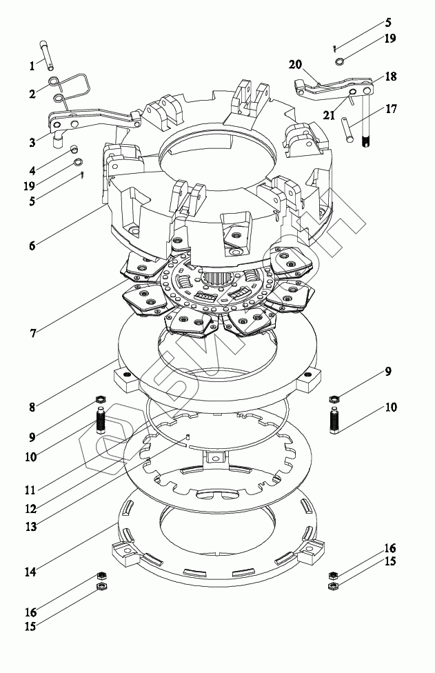
Позиция на иллюстрации Заводской номер детали Название детали Цена
BZF0109-121 BZF0109-121 Сцепление в сборе
Загрузка ...
BZF0109-1210001 BZF0109-1210001 Сцепление в подсборке
Загрузка ...
BZF0109-1210002 BZF0109-1210002 Пластинка фрикционная
Загрузка ...
1 HH100-410 Штифт длинный
Загрузка ...
2 HH100-418 Пружина
Загрузка ...
3 HH100-401 Шток выключения
Загрузка ...
4 HH100-412 Втулка запирающая
Загрузка ...
5 GB91-86 Крышка картера диффенциала
Загрузка ...
6 HH100-101 Корпус сцепления
Загрузка ...
7 HH100-200BKL Диски ведущий и ведомый
Загрузка ...
8 TA750-102 Диск напорный
Загрузка ...
9 GB6173 Болт
Загрузка ...
10 HH100-416 Винт
Загрузка ...
11 HH100-415 Кольцо упорное
Загрузка ...
12 TA750-104 Пружина тарельчатая
Загрузка ...
13 GB879 Штырь рессорный
Загрузка ...
14 HH100-103 Диск напорный
Загрузка ...
15 HH100-419B Гайка
Загрузка ...
16 HH100-419A Гайка
Загрузка ...
17 HH100-417 Штифт
Загрузка ...
18 HH100-402 Шток выключения
Загрузка ...
19 GBT848 Подкладка плоскостная
Загрузка ...
20 HH100-414 Пружина
Загрузка ...
21 HH100-409 Кожух
Загрузка ...
Содержащиеся в справочниках-каталогах запасные части и детали не предлагаются к продаже, а носят исключительно информационный характер