Графический каталог запасных частей к технике: LOVOL TM5D2A1304-002K. Брызговик правый передний

zoom-in zoom-out enlarge shrink circle-right circle-left file-text2 info cart spinner6
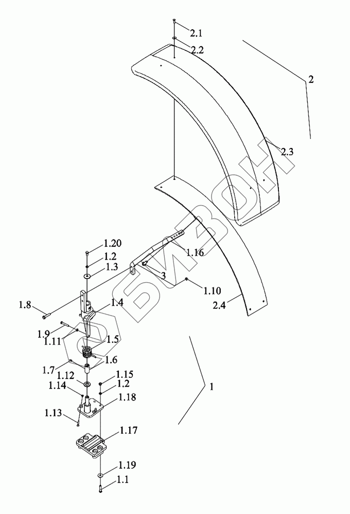
1
1.1
1.2
1.3
1.4
1.5
1.6
1.7
1.8
1.9
1.10
1.11
1.12
1.13
1.14
1.15
1.16
1.17
1.18
1.19
1.20
2
2.1
2.2
2.3
2.4
3
Позиция на иллюстрации Заводской номер детали Название детали Цена
TM5D477022000K TM5D477022000K Брызговик правый передний в сборе
Загрузка ...
TM5D477020000K TM5D477020000K Передний брызговик в сборе
Загрузка ...
1 TM5D477022100K Кронштейн
Загрузка ...
1.1 GBT5782-M12X55-8.8-A3L Болт с шестигранной головкой
Загрузка ...
1.2 GBT93-12-A3L Шайба стандартная пружинная
Загрузка ...
1.3 TB400.475-07 Шайба 2
Загрузка ...
1.4 TM5D477022120K Кронштейн
Загрузка ...
1.5 TG1254.478-03 Пружина кручения
Загрузка ...
1.6 TB400.475-05 Втулка
Загрузка ...
1.7 JBT7940.1-M10X1 Пресс-маслёнка M10X1
Загрузка ...
1.8 GBT5789-M12X55-10.9-A3L Болт с фланцем
Загрузка ...
1.9 GBT5783-M10X60-8.8-A3L Болт с шестигранной головкой M10X60-8.8-A3L
Загрузка ...
1.10 GBT6177.1-M12-10-A3L Гайка с фланцем M12-10-A3L
Загрузка ...
1.11 GBT6170-M10-8-A3L Гайка шестигранная тип 1 M10-8-A3L
Загрузка ...
1.12 TB400.475-06 Шайба
Загрузка ...
1.13 GBT5783-M8X45-8.8-A2L Болт с шестигранной головкой M8X45-8.8-A2L
Загрузка ...
1.14 GBT6170-M8-8-A2L Гайка шестигранная тип 1 M8-8-A2L
Загрузка ...
1.15 GBT6170-M12-10-A3L Гайка
Загрузка ...
1.16 TM5D477022110K Кронштейн правый
Загрузка ...
1.17 TG1254.477-04 Кронштейн опорный
Загрузка ...
1.18 TG1254.478.2 Плита монтажная
Загрузка ...
1.19 GBT96.1-12-A3L Шайба большая
Загрузка ...
1.20 GBT5783-M12X25-8.8-A3L Болт с шестигранной головкой
Загрузка ...
2 TM5D477026100K Щиток грязевой
Загрузка ...
2.1 GBT5783-M8X25-8.8-A2L Болт с шестигранной головкой M8X25-8.8-A2L
Загрузка ...
2.2 GBT96.1-8-A3L Шайба большая
Загрузка ...
2.3 TM5D477026101K Щиток грязевой
Загрузка ...
2.4 TM5D477026102K Накладка
Загрузка ...
3 GBT5789-M12X40-10.9-A3L Болт с фланцем
Загрузка ...
Содержащиеся в справочниках-каталогах запасные части и детали не предлагаются к продаже, а носят исключительно информационный характер