Графический каталог запасных частей к технике: LOVOL TM5D2A1304-006K. Установка аккумуляторов

zoom-in zoom-out enlarge shrink circle-right circle-left file-text2 info cart spinner6
1
1
2
3
3
4
5
6
7
8
9
9
10
11
12
13
14
15
16
17
17
18
19
20
21
22
23
24
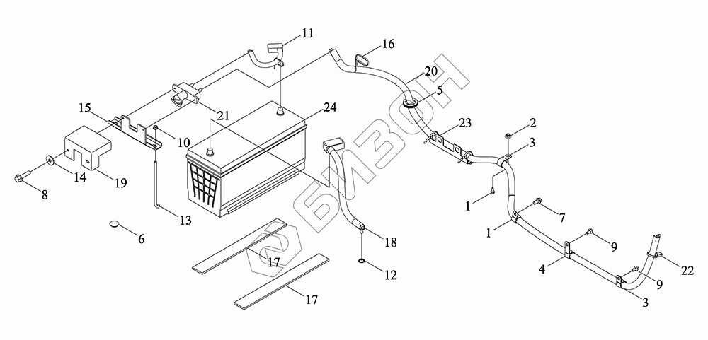
Позиция на иллюстрации Заводской номер детали Название детали Цена
TM5D485020000K TM5D485020000K Установка аккумуляторов в сборе
Загрузка ...
1 GBT5789-M6X16-8.8-A2L Болт шестигранный фланцевый M6X16-8.8-A2L
Загрузка ...
2 GBT6177.1-M6-8-A2L Гайка с фланцем M6-8-A2L
Загрузка ...
3 BZF0032.1-004 Зажим закрытый крепежный 11X25X40
Загрузка ...
4 BZF0032.1-008 Хомут закрытый
Загрузка ...
5 BZF0053-026 Катушка 40X2.5-35
Загрузка ...
6 BZF0056-004 Крышка
Загрузка ...
7 GBT5789-M10X20-8.8-A2L Болт с шестигранной головкой M10X20-8.8-A2L
Загрузка ...
8 GBT5789-M6X25-8.8-A2L Болт шестигранный фланцевый M6X25-8.8-A2L
Загрузка ...
9 GBT5789-M8X16-8.8-A2L Болт шестигранный фланцевый M8X16-8.8-A2L
Загрузка ...
10 GBT6177.1-M8-8-A2L Гайка с фланцем M8-8-A2L
Загрузка ...
11 TM5D485020001K Линия питания
Загрузка ...
12 GBT862.2-10-A3L Шайбы внешние зубчатые стопорные
Загрузка ...
13 TS08485010004K Тяга рычага
Загрузка ...
14 GBT96.1-6-A3L Шайба большая
Загрузка ...
15 TC03485080002 Сварка нажимной пластины аккумулятора
Загрузка ...
16 Q67405200 Лента стяжная
Загрузка ...
17 TB450.485.1 Прокладки амортизирующие для аккумулятора
Загрузка ...
18 TC02485010002 Перемычка металлизации
Загрузка ...
19 TQ1S485010004 Крышка защитная
Загрузка ...
20 TM7R485010007 Линия питания
Загрузка ...
21 TC03485080003 Выключатель
Загрузка ...
22 TG3S488010002 Хомут гибкий
Загрузка ...
23 TD2S485020001K Кронштейн для крепления шнура питания
Загрузка ...
24 TF1204.485A.1 Аккумулятор
Загрузка ...
Содержащиеся в справочниках-каталогах запасные части и детали не предлагаются к продаже, а носят исключительно информационный характер