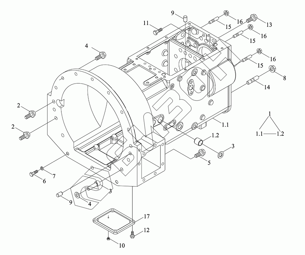
Графический каталог запасных частей к технике: LOVOL TM5D2A1304-006K. Корпус коробки скоростей

zoom-in zoom-out enlarge shrink circle-right circle-left file-text2 info cart spinner6
1
1.1
1.2
2
2
3
3
4
4
5
6
7
8
9
9
10
11
12
13
14
15
15
15
16
16
16
17
Позиция на иллюстрации Заводской номер детали Название детали Цена
TQ1S371010000K TQ1S371010000K Корпус коробки скоростей в сборе
Загрузка ...
1 TD2S371150001 Корпус коробки скоростей
Загрузка ...
1.1 TD2S371150002 Корпус коробки передач
Загрузка ...
1.2 TD2C371020003 Втулка композитная 25H9X30t8X29
Загрузка ...
2 GBT5789-M16X55-10.9-A3L Болт с фланцем
Загрузка ...
3 FT300.43.141 Сальник скелетный 25X35X6
Загрузка ...
4 GBT5789-M14X45-10.9-A3L Болт шестигранный фланцевый M14X45-10.9-A3L
Загрузка ...
5 GBT5789-M16X50-10.9-A3L Болт с фланцем
Загрузка ...
6 GBT5782-M16X90-10.9-A3L Болт с шестигранной головкой
Загрузка ...
7 FT654.32.104 Шайба
Загрузка ...
8 SPL6177.2-M16X1.5-10-F3 Гайка шестигранная фланцевая M16X1.5-10-F3
Загрузка ...
9 GBT119.1-16m6X28-A3L Штифт цилиндрический 16m6X28-A3L
Загрузка ...
10 GBT2878.4-M12-PLEH-A3L-NBR Пробка резьбовая с внутренним шестигранником
Загрузка ...
11 GBT5783-M14X40-10.9-A3L Болт с шестигранной головкой M14X40-10.9-A3L
Загрузка ...
12 GBT16674.1-M12X25-8.8-A3L Болт шестигранный фланцевый M12X25-8.8-A3L
Загрузка ...
13 GBT5789-M14X50-10.9-A3L Болт с фланцем
Загрузка ...
14 GBT899-AM16-M16X1.5X45-10.9-A3L Шпилька с двойной головкой
Загрузка ...
15 GBT899-AM14-M14X1.5X35-10.9-A3L Шпилька с двойной головкой
Загрузка ...
16 SPL6177.2-M14X1.5-10-F3 Гайка с фланцем
Загрузка ...
17 TC05371210001 Крышка смотрового окна
Загрузка ...
Содержащиеся в справочниках-каталогах запасные части и детали не предлагаются к продаже, а носят исключительно информационный характер