Графический каталог запасных частей к технике: LOVOL TM6R2A2204-004K. Управление сцеплением

zoom-in zoom-out enlarge shrink circle-right circle-left file-text2 info cart spinner6
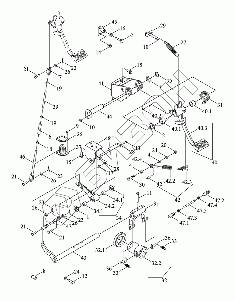
1
1
2
3
4
4
5
6
7
8
9
10
10
11
12
13
14
15
15
16
17
18
19
19
20
21
21
21
21
22
23
23
23
23
24
24
25
26
26
26
26
27
28
29
30
31
32
32.1
32.2
33
33
34
34.1
34.1
34.2
35
36
36
37
38
39
40
40.1
40.1
40.2
40.3
41
42
42.1
42.2
42.3
42.4
43
44
45
46
47
47.1
47.2
47.3
47.4
47.5
48
Позиция на иллюстрации Заводской номер детали Название детали Цена
TM6R212030000K TM6R212030000K Управление сцеплением
Загрузка ...
1 BZF0001-038 Шайба плоская 21-40-3
Загрузка ...
2 BZF0001-039 Шайба плоская 31-50-3
Загрузка ...
3 BZF0002.1-010 Прокладка неоткрывающаяся регулировочная типа A 30-45-0,5
Загрузка ...
4 BZF0016-207 Кольцо проставочное 12.2X18X8
Загрузка ...
5 FT800.43.030 Фитинг регулировочного винта
Загрузка ...
6 FT800A.21.353 Штанга центральная
Загрузка ...
7 FT800A.43B.119 Вилка левого рычага
Загрузка ...
8 GBT119.1-8m6X16-A3L Штифт цилиндрический
Загрузка ...
9 GBT16674.1-M6X16-8.8-A2L Болт шестигранный фланцевый M6X16-8.8-A2L
Загрузка ...
10 GBT16674.1-M8X20-8.8-A2L Болт шестигранный фланцевый M8X20-8.8-A2L
Загрузка ...
11 GBT5782-M10X55-8.8-A3L Болт с шестигранной головкой
Загрузка ...
12 GBT5783-M10X30-10.9-A3L Болт с шестигранной головкой
Загрузка ...
13 GBT5783-M8X20-8.8-A2L Болт с шестигранной головкой M8X20-8.8-A2L
Загрузка ...
14 GBT5789-M10X25-8.8-A3L Болт шестигранный фланцевый M10X25-8.8-A3L
Загрузка ...
15 GBT5789-M12X25-8.8-A3L Болт с фланцем M12X25-8.8-A3L
Загрузка ...
16 GBT6170-M10-8-A3L Гайка шестигранная тип 1 M10-8-A3L
Загрузка ...
17 GBT6170-M8-8-A3L Гайка M8-8-A3L
Загрузка ...
18 GBT6171-M10X1-8-A2L Гайка шестигранная тип 1 M10X1-8-A2L
Загрузка ...
19 GBT6171-M10X1-LH-8-A2L Гайка шестигранная тип 1 M10X1-LH-8-A2L
Загрузка ...
20 GBT6177.1-M10-8-A3L Гайка с фланцем M10-8-A3L
Загрузка ...
21 GBT882-B10X32-A3L Штифт B10X32-A3L
Загрузка ...
22 GBT894.1-30 Кольцо упругое стопорное для вала
Загрузка ...
23 GBT91-3.2X32-A3L Шплинт разводной 3.2X32-A3L
Загрузка ...
24 GBT93-10-A3L Шайба стандартная пружинная
Загрузка ...
25 GBT93-8-A3L Шайба стандартная пружинная
Загрузка ...
26 GBT97.1-10-A3L Шайба большая
Загрузка ...
27 TC02212020013 Пружина возвратнаяа педали
Загрузка ...
28 TC03212010020 Сварка опорного вала переходного рычага
Загрузка ...
29 TD1S212010001 Кронштейн
Загрузка ...
30 TD2C212010013 Болт пружинного соединения
Загрузка ...
31 TD2S212100001 Пружина
Загрузка ...
32 TM6R212030001K Постель подшипника
Загрузка ...
32.1 TG1204.212.5 Подшипник главный выжимной сцепления 996713
Загрузка ...
32.2 BZF0025-218 Постель подшипника
Загрузка ...
33 TG1654.212A-03 Пружина
Загрузка ...
34 TG3S212020002 Рычаг
Загрузка ...
34.1 TD2C212010022 Втулка композитная 20H9X23X20
Загрузка ...
34.2 TG3S212020006 Рычаг
Загрузка ...
35 TG4S212010002 Вилка отводная
Загрузка ...
36 TG4S212010003 Кольцо стопорное
Загрузка ...
37 TM5Q212090023 Втулка уплотнительная
Загрузка ...
38 TM5Q212090024 Плита нажимная
Загрузка ...
39 TM5Q212090025 Тяга
Загрузка ...
40 TM5Q212100003 Монтаж педали сцепления
Загрузка ...
40.1 TD2C212010014 Втулка композитная 30H9X34t8X25
Загрузка ...
40.2 TD2S212100006 Втулка
Загрузка ...
40.3 TM5Q212100004 Рычаг качающийся
Загрузка ...
41 TM5Q212100010a Рама монтажная
Загрузка ...
42 TM6R212020001K Сервопривод
Загрузка ...
42.1 GBT119.1-5m6X16-A1 Штифт цилиндрический
Загрузка ...
42.2 TM6R212020002K Пружина возвратная
Загрузка ...
42.3 TM6W212030002 Втулка
Загрузка ...
42.4 TM6W212030003 Вал
Загрузка ...
43 TM6R212020003K Ось качающегося рычага
Загрузка ...
44 TM6W212030004 Вал
Загрузка ...
45 TM6W212030006a Кронштейн
Загрузка ...
46 TM6W212030009 Гайка римская
Загрузка ...
47 TM6W212030011 Тяга
Загрузка ...
47.1 FT800A.43B.116 Вилка тяги
Загрузка ...
47.2 FT800A.43B.119 Вилка левого рычага
Загрузка ...
47.3 GBT6171-M10X1-8-A2L Гайка шестигранная тип 1 M10X1-8-A2L
Загрузка ...
47.4 GBT6171-M10X1-LH-8-A2L Гайка шестигранная тип 1 M10X1-LH-8-A2L
Загрузка ...
47.5 TM6W212030012 Тяга нижняя
Загрузка ...
48 TM6W212030015 Кронштейн
Загрузка ...
Содержащиеся в справочниках-каталогах запасные части и детали не предлагаются к продаже, а носят исключительно информационный характер
Сайт использует файлы cookie, обрабатываемые вашим браузером. Подробнее об этом вы можете узнать в Политике cookie.
Принять Настроить Отклонить