Графический каталог запасных частей к технике: LOVOL TM7N1A2604-002K. Радиатор

zoom-in zoom-out enlarge shrink circle-right circle-left file-text2 info cart spinner6
2
2
2
2
2
2
3
3
3
4
5
6
7
8
9
9
9
10
11
12
13
14
14
15
16
17
18
19
20
21
21
21
22
23
23
24
25
26
27
28
29
30
31
32
33
34
35
36
37
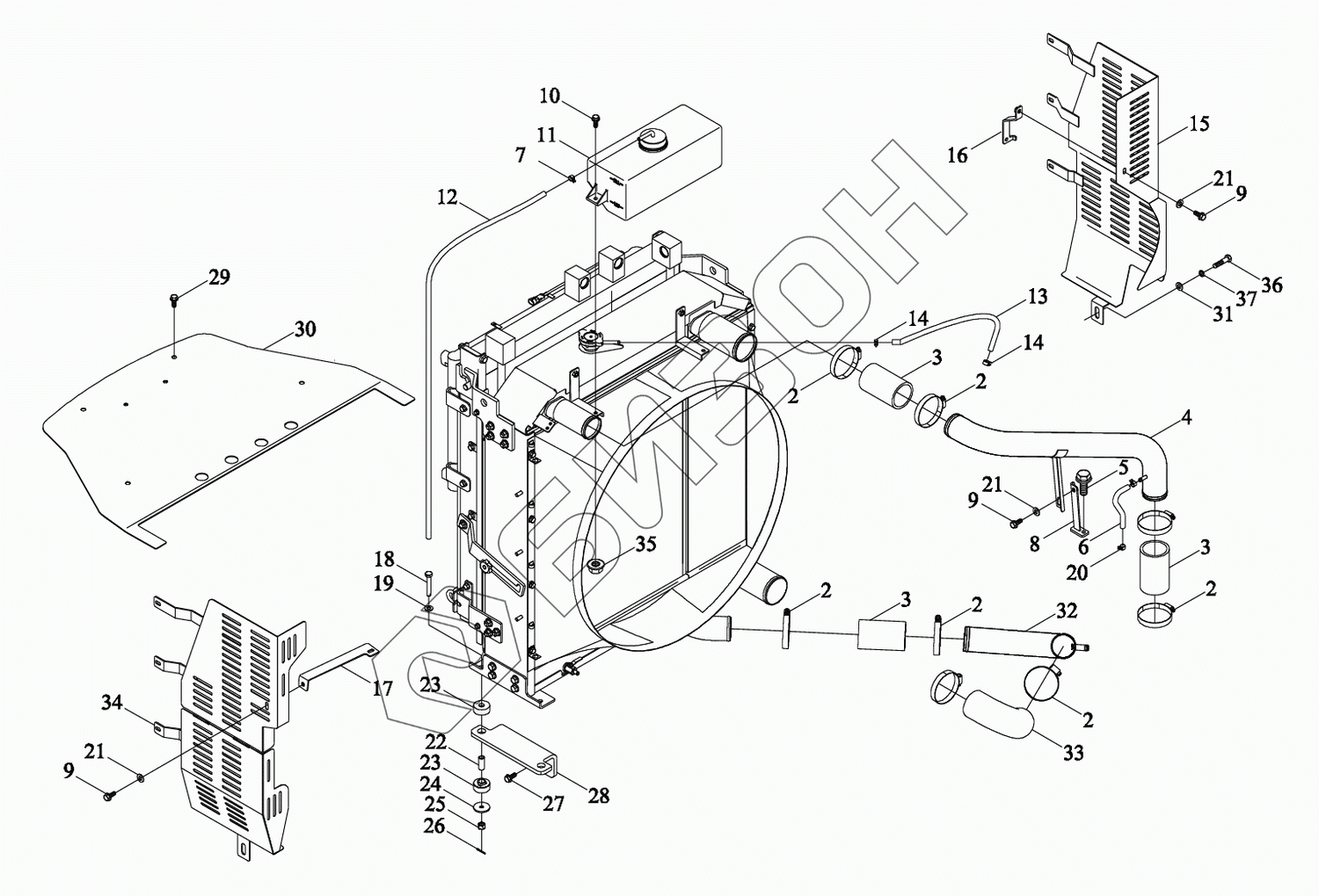
Позиция на иллюстрации Заводской номер детали Название детали Цена
TM7N131020000K TM7N131020000K Клапан тормозной
Загрузка ...
1 TM7N131020001K Радиатор
Загрузка ...
2 Q67683 Хомут для шланга с червячным приводом типа B
Загрузка ...
3 TK1300400700 Шланг для слива воды из бака
Загрузка ...
4 TK1300202000 Труба приемная
Загрузка ...
5 GBT5789-M8X35-8.8-A2L Болт с фланцем M8X35-8.8-A2L
Загрузка ...
6 TK1300400200 Трубка газоотводная
Загрузка ...
7 Q673B11 Хомут
Загрузка ...
8 TS09131010001 Кронштейн
Загрузка ...
9 GBT5789-M8X16-8.8-A2L Болт шестигранный фланцевый M8X16-8.8-A2L
Загрузка ...
10 GBT5789-M8X20-8.8-A2L Болт M8X16-10.9-A2L
Загрузка ...
11 TG1204.13A-07a Бак расширительный
Загрузка ...
12 TK1300200002 Шланг воздухоотводчика
Загрузка ...
13 TK1300200001 Шланг резиновый
Загрузка ...
14 Q673B11 Хомут стальной
Загрузка ...
15 TM7N131010001K Решётка защитная
Загрузка ...
16 TM7N131010003K Кронштейн сварной
Загрузка ...
17 TM7N131020020 Кронштейн сварной
Загрузка ...
18 GBT31.1-M10X60-8.8-A3L Болт с шестигранной головкой и отверстием
Загрузка ...
19 GBT97.1-10-A3L Шайба большая
Загрузка ...
20 Q67516 Хомут для шланга с червячным приводом типа А
Загрузка ...
21 GBT96.1-8-A3L Шайба большая
Загрузка ...
22 TA700.131-02a Патрубок
Загрузка ...
23 TD800.131-11 Прокладка резиновая
Загрузка ...
24 FT650.13.116 Прокладка
Загрузка ...
25 GBT6178-M10-8-A3L Гайка шестигранная с прорезью типа 1 M10-8-A3L
Загрузка ...
26 GBT91-2.5X28-A3L Шплинт разводной 2.5X28-A3L
Загрузка ...
27 GBT5789-M12X35-8.8-A3L Болт шестигранный фланцевый M12X35-8.8-A3L
Загрузка ...
28 TK1P131020004 Плита монтажная
Загрузка ...
29 GBT5789-M10X20-8.8-A3L Болт шестигранный фланцевый M10X20-8.8-A3L
Загрузка ...
30 TM7N131020005K Лист прокладочный
Загрузка ...
31 GBT97.1-12-A3L Шайба плоская
Загрузка ...
32 TK1300203000 Труба водовыпускная
Загрузка ...
33 TK1300028000 Шланг
Загрузка ...
34 TM7N131020008 Решётка защитная
Загрузка ...
35 GBT6177.1-M8-8-A2L Гайка с фланцем M8-8-A2L
Загрузка ...
36 GBT5783-M12X20-8.8-A3L Болт с шестигранной головкой
Загрузка ...
37 GBT93-12-A3L Шайба стандартная пружинная
Загрузка ...
Содержащиеся в справочниках-каталогах запасные части и детали не предлагаются к продаже, а носят исключительно информационный характер
Сайт использует файлы cookie, обрабатываемые вашим браузером. Подробнее об этом вы можете узнать в Политике cookie.
Принять Настроить Отклонить