ЗАПАСНЫЕ ЧАСТИ К ПРИСПОСОБЛЕНИЯМ ДЛЯ УБОРКИ ПОДСОЛНЕЧНИКА, КУКУРУЗЫ, РАПСА, СОИ
ЗАПАСНЫЕ ЧАСТИ К КОСИЛКАМ, ГРАБЛЯМ-ВАЛКООБРАЗОВАТЕЛЯМ, СТОГОМЕТАТЕЛЯМ И ПОГРУЗЧИКАМ
РЕМНАБОРЫ РТИ, КОЛЬЦА УПЛОТНИТЕЛЬНЫЕ
МЕТИЗЫ (БОЛТОКРЕПЕЖ, ХОМУТЫ, ШПОНКИ)
| Позиция на иллюстрации | Заводской номер детали | Название детали | Цена | |
|---|---|---|---|---|
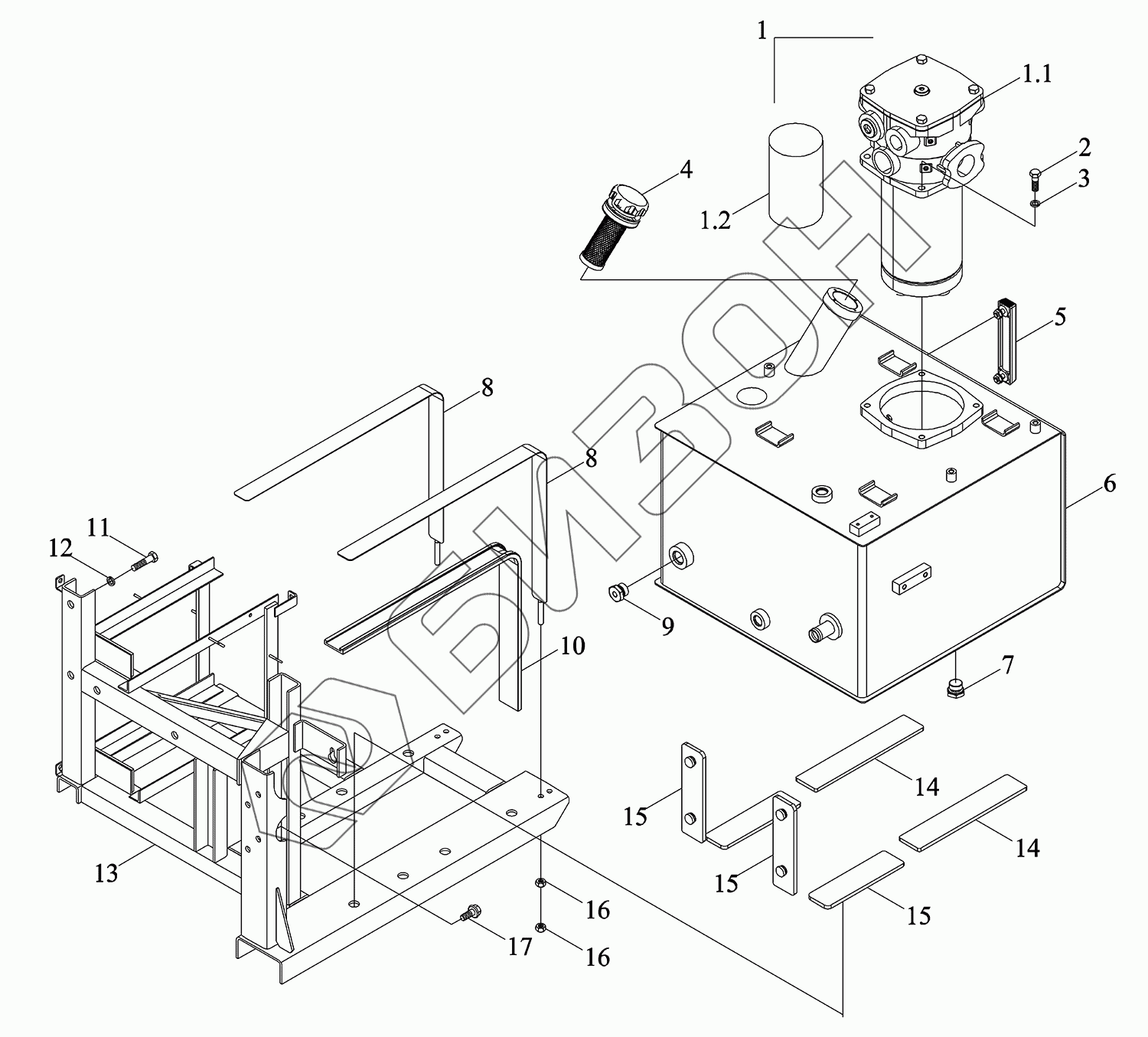
| TM7N581030000K | TM7N581030000K | Маслобак гидравлический |
Загрузка ...
|
|
| 1 | TM7N581020009K | Фильтр |
Загрузка ...
|
|
| 1.1 | TM7N581020016K | Гнездо фильтроэлемента |
Загрузка ...
|
|
| 1.2 | TM7N581020017K | Фильтр возврата масла |
Загрузка ...
|
|
| 2 | GBT5783-M12X30-8.8-A3L | Болт с шестигранной головкой |
Загрузка ...
|
|
| 3 | GBT93-12-A3L | Гровер |
Загрузка ...
|
|
| 4 | TK5810111000 | Фильтр |
Загрузка ...
|
|
| 5 | TK5810114000 | Датчик уровня жидкости |
Загрузка ...
|
|
| 6 | TM7N581020001K | Кронштейн гидравлического бака |
Загрузка ...
|
|
| 7 | TC04553010011K | Ввёртыш |
Загрузка ...
|
|
| 8 | TM7N581020007K | Хомут гибкий |
Загрузка ...
|
|
| 9 | TM6W402010004 | Разъем датчика температуры |
Загрузка ...
|
|
| 10 | TM7N581020015K | Лента резиновая |
Загрузка ...
|
|
| 11 | GBT5783-M16X30-8.8-A3L | Болт с шестигранной головкой |
Загрузка ...
|
|
| 12 | GBT93-16-A3L | Гровер |
Загрузка ...
|
|
| 13 | TM7N581030001K | Кронштейн |
Загрузка ...
|
|
| 14 | TG1854.581C-05 | Подушка |
Загрузка ...
|
|
| 15 | TK5810000200 | Прокладка резиновая |
Загрузка ...
|
|
| 16 | GBT6170-M10-8-A3L | Гайка шестигранная тип 1 |
Загрузка ...
|
|
| 17 | GBT5789-M12X20-8.8-A3L | Болт с фланцем |
Загрузка ...
|
Узнавайте первыми!
о новинках в отрасли, акциях магазина, новостях компании и многом другом!
Нажимая на кнопку “Подписаться”,
Вы соглашаетесь с
условиями обработки персональных данных
Обратный звонок
Оставьте ваши координаты и наш менеджер перезвонит Вам в течение 15 минут в рабочие часы компании.
Нажимая на кнопку “Заказать звонок”,
Вы соглашаетесь с условиями обработки персональных данных
Закажите услугу
Опишите, пожалуйста, ваш заказ на услугу или просто заполните контактную информацию и наши эскперты помогут решить вашу проблему!
Нажимая на кнопку “Отправить сообщение”,
Вы соглашаетесь с
условиями обработки персональных данных
Обратная связь
Нужен совет, как выбрать товар или использовать его? Не нашли нужную информацию на сайте? Напишите — наши эксперты помогут Вам!
Нажимая на кнопку “Отправить сообщение”,
Вы соглашаетесь с
условиями обработки персональных данных
Войти на сайт
Нет аккаунта? Зарегистрируйтесь на сайте
Регистрация