Графический каталог запасных частей к технике: LOVOL TM7N2A3004-001K. Масляный фильтр маслопровода масляного насоса 2

zoom-in zoom-out enlarge shrink circle-right circle-left file-text2 info cart spinner6
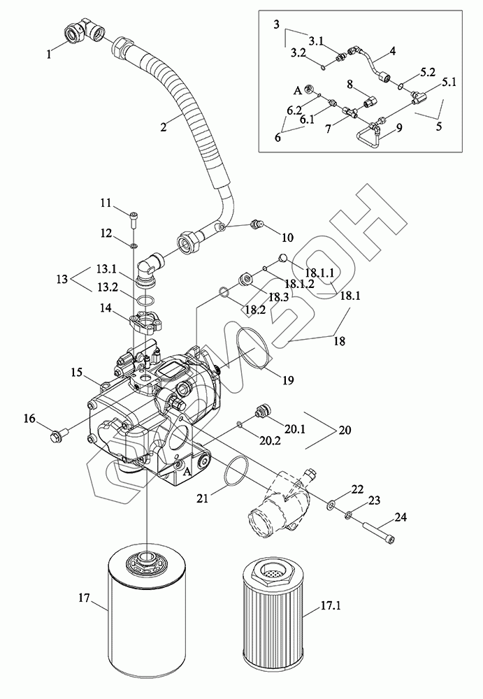
1
2
3
3.1
3.2
4
5
5.1
5.2
6
6.1
6.2
7
8
9
10
11
12
13
13.1
13.2
14
15
16
17
17.1
18
18.1
18.1.1
18.1.2
18.2
18.3
19
20
20.1
20.2
21
22
23
24
Позиция на иллюстрации Заводской номер детали Название детали Цена
TM7N581070000K TM7N581070000K Фильтр масляный маслопровода масляного насоса в сборе
Загрузка ...
1 GBT3754-S25 Штуцер соединительный
Загрузка ...
2 TM7N581070002K Шланг нагнетательный гидравлического насоса в сборе
Загрузка ...
3 DV01603050003 Стык
Загрузка ...
3.1 DV01603050004 Соединение
Загрузка ...
3.2 TS09580010004 Кольцо уплотнительное
Загрузка ...
4 TM7N581070015K Трубка жесткая переменный насос M3 порт
Загрузка ...
5 TP8C601010011 Фитинг тройниковый реле перепада давления в сборе
Загрузка ...
5.1 TP8C601011075 Разъем тройниковый реле перепада давления
Загрузка ...
5.2 TS09580010004 Кольцо уплотнительное
Загрузка ...
6 TP8C601010007 Фитинг прямой M10x1ISO6149-3-M14x1,5ISO8434-1(L) в сборе
Загрузка ...
6.1 TP8C601011072 Соединение прямое
Загрузка ...
6.2 TS09580010002 Кольцо в форме О
Загрузка ...
7 TP8C601011053 Тройник фитинг один конец ISO8434-1M14x1.5(L) ферула гайка средний и другой конец ISO8434-1M14x1.5(L)
Загрузка ...
8 TP8C601011049 Разъем переходной для датчика M14x1,5 ISO6149-1-M14x1,5 ISO8434-1(L)
Загрузка ...
9 TM7N581070017K Трубка жесткая переменного насоса M2 с портом в сборе
Загрузка ...
10 GV02709010091 Штуцер
Загрузка ...
11 GBT70.1-M10X30-8.8-A3L Винт с цилиндрической головкой и внутренним шестигранником
Загрузка ...
12 GBT93-10-A3L Гровер
Загрузка ...
13 TN2P581010014 Фитинги фланцевые с прямым углом S25
Загрузка ...
13.1 TN2P581010011 Корпус фланцевого фитинга с прямым углом S25
Загрузка ...
13.2 ISO3601-32.92X3.53 Кольцо в форме О
Загрузка ...
14 TP8C541011003 Фланец ответный SAE-3000-PSI
Загрузка ...
15 TP8C540011100 Насос комбинированный поршневой с переменным объемом 85/145 куб. см/об.
Загрузка ...
16 GBT16674.1-M14X30-8.8-A3L Болт с фланцем
Загрузка ...
17 TM7N581070005K Фильтр 400L-10
Загрузка ...
17.1 TM7N581070006K Картридж 400L-10
Загрузка ...
18 TM7N581070018K Заглушка 7/8-14 UNF
Загрузка ...
18.1 GV04701010035 Ввёртыш
Загрузка ...
18.1.1 GV04701010036 Ввёртыш
Загрузка ...
18.1.2 GV04701010037 Прокладка герметическая
Загрузка ...
18.2 TM7N581070019K Корпус пробки 7/8-14 UNF
Загрузка ...
18.3 ISO11926-19.18X2.46 Кольцо в форме О
Загрузка ...
19 PIS07010110 Кольцо уплотнительное -101.27X2.62-NBR70
Загрузка ...
20 TM7N581070001 Фитинг концевой прямой в сборе 14-L18
Загрузка ...
20.1 TM7N581070002 Фитинг концевой прямой 14-L18
Загрузка ...
20.2 TS09580010004 Кольцо уплотнительное
Загрузка ...
21 GBT3452.1-69.0X3.55G Кольцо уплотнительное
Загрузка ...
22 GBT97.1-12-A3L Шайба плоская
Загрузка ...
23 GBT93-12-A3L Гровер
Загрузка ...
24 GBT70.1-M12X80-8.8-A3L Винт
Загрузка ...
Содержащиеся в справочниках-каталогах запасные части и детали не предлагаются к продаже, а носят исключительно информационный характер
Сайт использует файлы cookie, обрабатываемые вашим браузером. Подробнее об этом вы можете узнать в Политике cookie.
Принять Настроить Отклонить