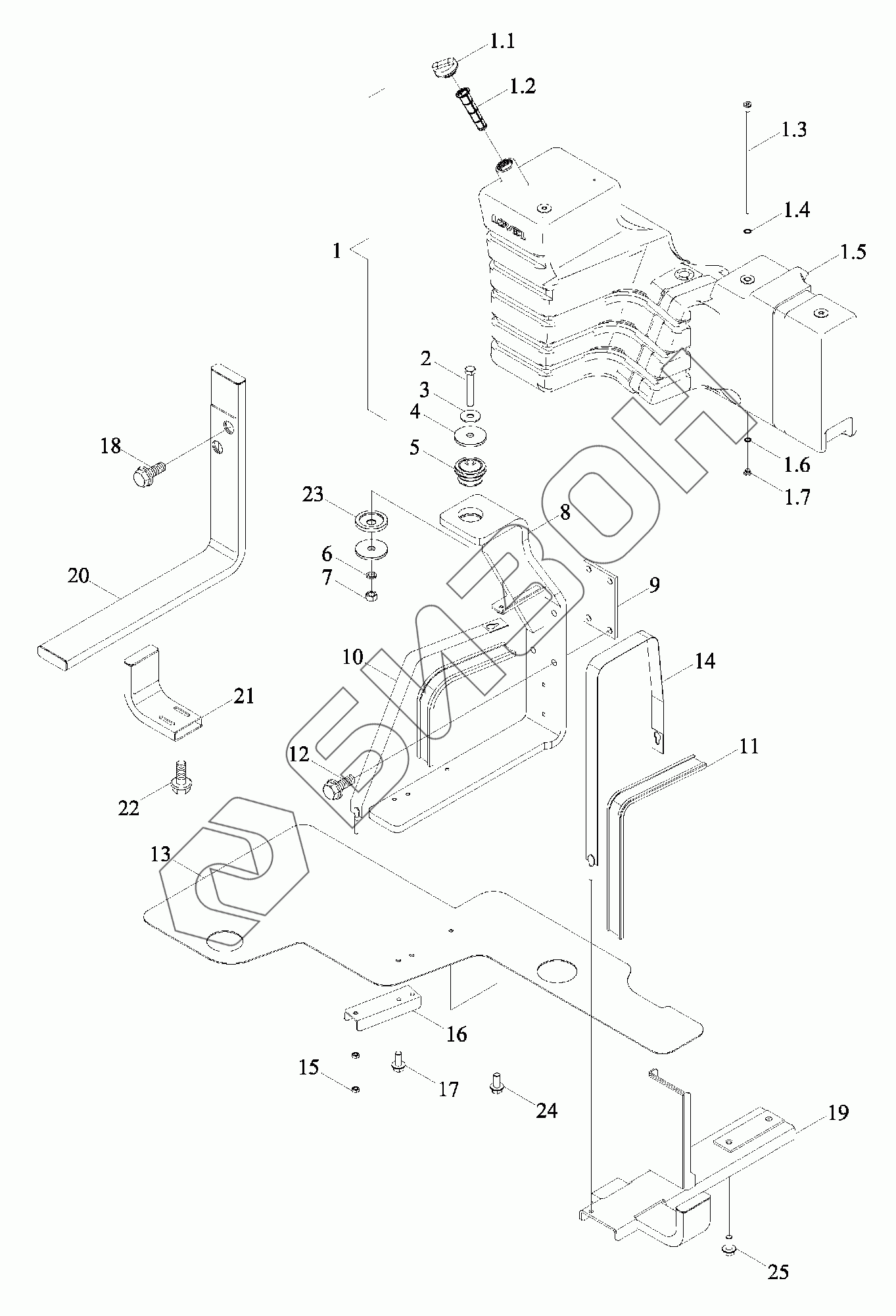
Графический каталог запасных частей к технике: LOVOL TR2SA2204-001K. Монтажный блок топливного бака

zoom-in zoom-out enlarge shrink circle-right circle-left file-text2 info cart spinner6
1
1
1.1
1.2
1.3
1.4
1.5
1.6
1.7
2
3
4
5
6
7
8
9
10
11
12
13
14
15
16
17
18
19
20
21
22
23
24
25
Позиция на иллюстрации Заводской номер детали Название детали Цена
TG4S501010000 TG4S501010000 Монтажный блок топливного бака в сборе
Загрузка ...
1 TS08501010007a Маслобак
Загрузка ...
1 TS08501010007b Маслобак
Загрузка ...
1.1 TS06501040014 Крышка топливного бака
Загрузка ...
1.2 TF1004.501.1-02 Сетка фильтровальная
Загрузка ...
1.3 TS06501050005a Труба
Загрузка ...
1.4 JBT982-22 Шайба комбинированная уплотнительная
Загрузка ...
1.5 TS08501010008a Корпус картера
Загрузка ...
1.6 JBT982-20 Шайба комбинированная уплотнительная
Загрузка ...
1.7 Q617B20 Ввёртыш
Загрузка ...
2 GBT5782-M16X100-10.9-A3L Болт с шестигранной головкой M16X100-10.9-A3L
Загрузка ...
3 GBT96.1-16-A3L Шайба большая
Загрузка ...
4 TB400.457B-02 Кольцо стопорное
Загрузка ...
5 TB400.457B-01 Блок буферный
Загрузка ...
6 GBT93-16-A3L Шайба стандартная пружинная
Загрузка ...
7 GBT6170-M16-10-A3L Гайка шестигранная тип 1 M16-10-A3L
Загрузка ...
8 TS17501030001 Кронштейн упорный
Загрузка ...
9 TS17501010015 Плита пусковой площадки
Загрузка ...
10 TG4S501010010 Хомут гибкий
Загрузка ...
11 FT800A.50.209 Лента резиновая
Загрузка ...
12 GBT5789-M16X60-10.9-A3L Болт с фланцем
Загрузка ...
13 TS17501010014 Защитная пластина
Загрузка ...
14 TG1854.501.6 Хомут гибкий
Загрузка ...
15 GBT6170-M10-8-A3L Гайка шестигранная тип 1 M10-8-A3L
Загрузка ...
16 TS17501010011 Хомут гибкий
Загрузка ...
17 GBT5789-M10X25-8.8-A3L Болт шестигранный фланцевый M10X25-8.8-A3L
Загрузка ...
18 GBT5789-M14X55-10.9-A3L Болт с фланцем M14X55-10.9-A3L
Загрузка ...
19 TS17501010006 Кронштейн
Загрузка ...
20 TG4S501010009 Кронштейн
Загрузка ...
21 TG1854.501.4 Труба ограничительная
Загрузка ...
22 GBT5789-M10X55-8.8-A3L Болт шестигранный фланцевый M10X55-8.8-A3L
Загрузка ...
23 TS04457010023 Диафрагма резиновая
Загрузка ...
24 GBT5789-M10X20-8.8-A3L Болт шестигранный фланцевый M10X20-8.8-A3L
Загрузка ...
25 GBT5789-M16X35-8.8-A3L Болт с фланцем
Загрузка ...
Содержащиеся в справочниках-каталогах запасные части и детали не предлагаются к продаже, а носят исключительно информационный характер
Сайт использует файлы cookie, обрабатываемые вашим браузером. Подробнее об этом вы можете узнать в Политике cookie.
Принять Настроить Отклонить