ЗАПАСНЫЕ ЧАСТИ К ПРИСПОСОБЛЕНИЯМ ДЛЯ УБОРКИ ПОДСОЛНЕЧНИКА, КУКУРУЗЫ, РАПСА, СОИ
ЗАПАСНЫЕ ЧАСТИ К КОСИЛКАМ, ГРАБЛЯМ-ВАЛКООБРАЗОВАТЕЛЯМ, СТОГОМЕТАТЕЛЯМ И ПОГРУЗЧИКАМ
РЕМНАБОРЫ РТИ, КОЛЬЦА УПЛОТНИТЕЛЬНЫЕ
МЕТИЗЫ (БОЛТОКРЕПЕЖ, ХОМУТЫ, ШПОНКИ)
| Позиция на иллюстрации | Заводской номер детали | Название детали | Цена | |
|---|---|---|---|---|
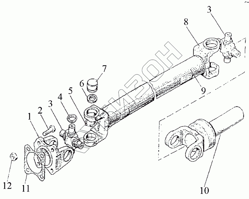
| 112-2203010 | 112-2203010 | Вал карданный в сборе |
Загрузка ...
|
|
| 1 | 72-2203023 | Фланец |
Загрузка ...
|
|
| 2 | 52-2203012 | Болт М10х1 |
Загрузка ...
|
|
| 3 | 72-2203025РН | Крестовина с сальниками и подшипниками в сборе |
Загрузка ...
|
|
| 3 | 72-2203030-01 | Крестовина |
Загрузка ...
|
|
| 4 | 3102-2201037 | Отражатель |
Загрузка ...
|
|
| 5 | 72-2203043 | Кольцо стопорное |
Загрузка ...
|
|
| 6 | 69-2201031-А | Манжета |
Загрузка ...
|
|
| 7 | 704702К3С10 | Подшипник |
Загрузка ...
|
|
| 8 | 72-2203022 | Вилка |
Загрузка ...
|
|
| 9 | 112-2203018 | Труба |
Загрузка ...
|
|
| 10 | 86-2203047 | Вилка скользящая |
Загрузка ...
|
|
| 11 | 20-2201024 | Прокладка |
Загрузка ...
|
|
| 12 | M10x1-8D1NEN1SO10511 | Гайка |
Загрузка ...
|
Узнавайте первыми!
о новинках в отрасли, акциях магазина, новостях компании и многом другом!
Нажимая на кнопку “Подписаться”,
Вы соглашаетесь с
условиями обработки персональных данных
Обратный звонок
Оставьте ваши координаты и наш менеджер перезвонит Вам в течение 15 минут в рабочие часы компании.
Нажимая на кнопку “Заказать звонок”,
Вы соглашаетесь с условиями обработки персональных данных
Закажите услугу
Опишите, пожалуйста, ваш заказ на услугу или просто заполните контактную информацию и наши эскперты помогут решить вашу проблему!
Нажимая на кнопку “Отправить сообщение”,
Вы соглашаетесь с
условиями обработки персональных данных
Обратная связь
Нужен совет, как выбрать товар или использовать его? Не нашли нужную информацию на сайте? Напишите — наши эксперты помогут Вам!
Нажимая на кнопку “Отправить сообщение”,
Вы соглашаетесь с
условиями обработки персональных данных
Войти на сайт
Нет аккаунта? Зарегистрируйтесь на сайте
Регистрация