Графический каталог запасных частей к технике: МТЗ-1523.4. Бак

zoom-in zoom-out enlarge shrink circle-right circle-left file-text2 info cart spinner6
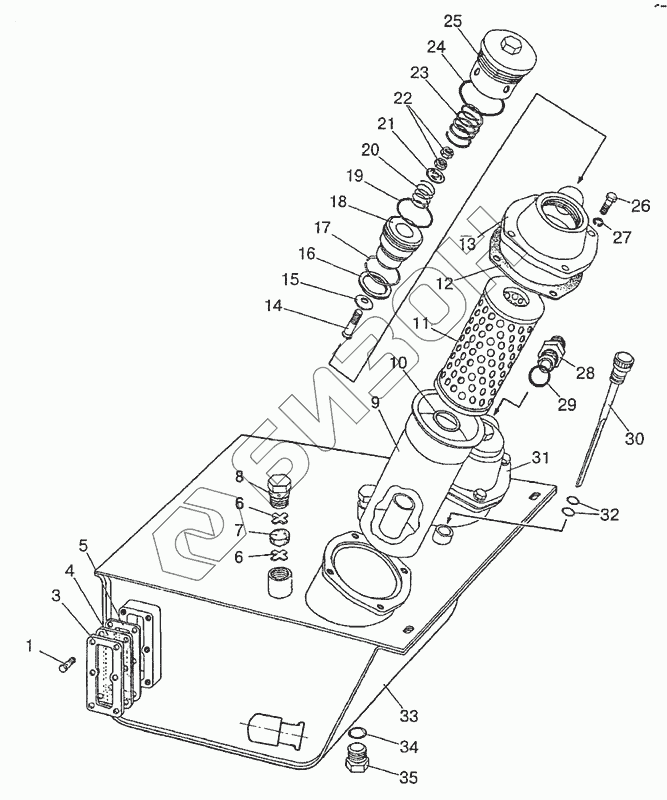
1
3
4
5
6
6
7
8
9
10
11
11
12
13
14
15
16
17
18
19
20
21
22
23
24
25
26
27
28
29
30
31
32
33
34
35
Позиция на иллюстрации Заводской номер детали Название детали Цена
1 M6x20 DIN EN 1665-98 Болт
Загрузка ...
3 85-4608088-Б Корпус
Загрузка ...
4 85-4608087-Б Указатель
Загрузка ...
5 854S08086-B Прокладка
Загрузка ...
6 50-4608062 Шайба сапуна
Загрузка ...
7 50-4608063 Фильтр
Загрузка ...
8 50-4608059 Пробка сапуна
Загрузка ...
9 822-4608020 -А Корпус
Загрузка ...
10 042-050-46-2-2 Кольцо
Загрузка ...
11 ЭФОМ 631-1 Элемент фильтрующий
Загрузка ...
11 ФЭГ 3-25 Элемент фильтрующий
Загрузка ...
12 822-4608112 Прокладка
Загрузка ...
13 1522-4608211-01 Крышка
Загрузка ...
14 М6х40 Болт
Загрузка ...
15 8.20.004 Клапан
Загрузка ...
16 822-4608042 Кольцо
Загрузка ...
17 822-4608032 Кольцо
Загрузка ...
18 822-4608041 Клапан
Загрузка ...
19 055-060-2-2 Кольцо
Загрузка ...
20 8.20.002 Пружина
Загрузка ...
21 8.20.005 Шайба опорная
Загрузка ...
22 М6 Гайка
Загрузка ...
23 80-4608057 Пружина
Загрузка ...
24 066-071-30-2-2 Кольцо
Загрузка ...
25 822-4608031 Корпус
Загрузка ...
26 М8х25 Болт
Загрузка ...
27 ШП8 Шайба
Загрузка ...
28 С80-4607034 Штуцер
Загрузка ...
29 027-032-30-2-2 Кольцо
Загрузка ...
30 70-4608065А Масломер
Загрузка ...
31 1522-4608211 Крышка
Загрузка ...
32 011-015-25-2-2 Кольцо
Загрузка ...
33 1522-4608220 Корпус
Загрузка ...
34 017-022-30-2-2 Кольцо
Загрузка ...
35 50-4608027-В Пробка
Загрузка ...
Содержащиеся в справочниках-каталогах запасные части и детали не предлагаются к продаже, а носят исключительно информационный характер