ЗАПАСНЫЕ ЧАСТИ К ПРИСПОСОБЛЕНИЯМ ДЛЯ УБОРКИ ПОДСОЛНЕЧНИКА, КУКУРУЗЫ, РАПСА, СОИ
ЗАПАСНЫЕ ЧАСТИ К КОСИЛКАМ, ГРАБЛЯМ-ВАЛКООБРАЗОВАТЕЛЯМ, СТОГОМЕТАТЕЛЯМ И ПОГРУЗЧИКАМ
РЕМНАБОРЫ РТИ, КОЛЬЦА УПЛОТНИТЕЛЬНЫЕ
МЕТИЗЫ (БОЛТОКРЕПЕЖ, ХОМУТЫ, ШПОНКИ)
| Позиция на иллюстрации | Заводской номер детали | Название детали | Цена | |
|---|---|---|---|---|
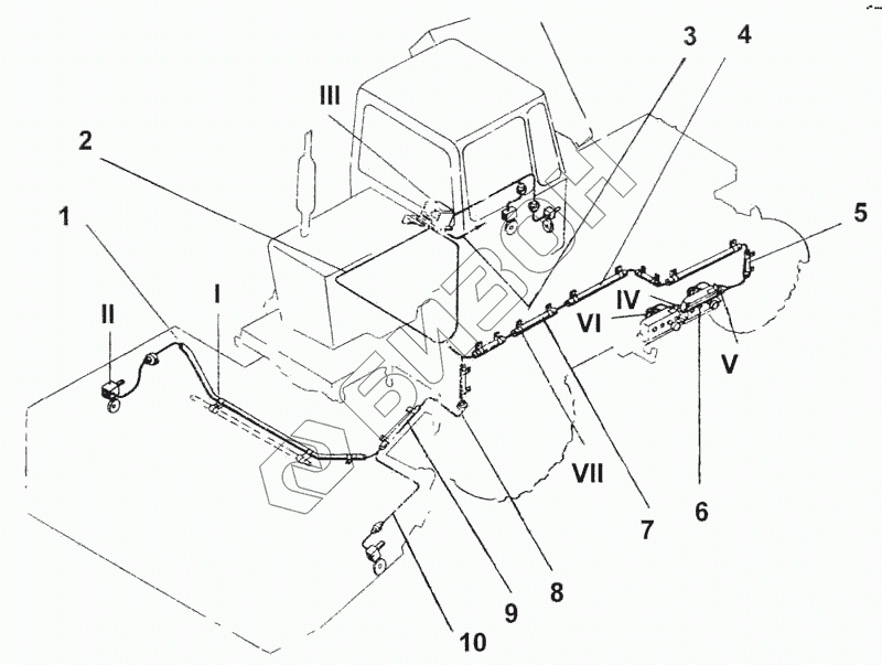
| СПТ-18000 | СПТ-18000 | Система автоконтроля свеклопогрузчика |
Загрузка ...
|
|
| 1 | СПТ-18802 | Труба |
Загрузка ...
|
|
| 2 | СПТ 18110 | Кабель машины |
Загрузка ...
|
|
| 3 | РКС6 24060 | Кабель питания |
Загрузка ...
|
|
| 4 | РКР-46404-04 | Желобок 1 = 1060 мм |
Загрузка ...
|
|
| 5 | РКР-46404 | Желобок 1 = 500 мм |
Загрузка ...
|
|
| 6 | СПТ 18804 | Труба 14х1,4-10В ТУ 14-3-1181-83 1=450мм |
Загрузка ...
|
|
| 7 | БМД 10404-10 | Желобок l=400 мм |
Загрузка ...
|
|
| 8 | БМД-10603-04 | Оплетка 320 мм (47761222035) |
Загрузка ...
|
|
| 9 | БМД-10404-01 | Желобок 255 мм |
Загрузка ...
|
|
| 10 | СПТ-18020 | Кабель питания |
Загрузка ...
|
|
| 11 | СПТ-18501 | Кронштейн |
Загрузка ...
|
Узнавайте первыми!
о новинках в отрасли, акциях магазина, новостях компании и многом другом!
Нажимая на кнопку “Подписаться”,
Вы соглашаетесь с
условиями обработки персональных данных
Обратный звонок
Оставьте ваши координаты и наш менеджер перезвонит Вам в течение 15 минут в рабочие часы компании.
Нажимая на кнопку “Заказать звонок”,
Вы соглашаетесь с условиями обработки персональных данных
Закажите услугу
Опишите, пожалуйста, ваш заказ на услугу или просто заполните контактную информацию и наши эскперты помогут решить вашу проблему!
Нажимая на кнопку “Отправить сообщение”,
Вы соглашаетесь с
условиями обработки персональных данных
Обратная связь
Нужен совет, как выбрать товар или использовать его? Не нашли нужную информацию на сайте? Напишите — наши эксперты помогут Вам!
Нажимая на кнопку “Отправить сообщение”,
Вы соглашаетесь с
условиями обработки персональных данных
Войти на сайт
Нет аккаунта? Зарегистрируйтесь на сайте
Регистрация