Графический каталог запасных частей к технике: LOVOL TM6R2A2204-004K. Кабина в сборе

zoom-in zoom-out enlarge shrink circle-right circle-left file-text2 info cart spinner6
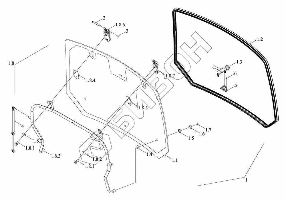
1
1.1
1.2
1.3
1.4
1.5
1.6
1.7
1.8
1.8.1
1.8.1
1.8.2
1.8.2
1.8.3
1.8.4
1.8.5
1.8.6
1.8.7
2
3
4
5
6
Позиция на иллюстрации Заводской номер детали Название детали Цена
TM6R451140000K TM6R451140000K Кабина в сборе
Загрузка ...
TM6R451130001K TM6R451130001K Комплектующие кабины
Загрузка ...
TM6W451032400 TM6W451032400 Стекло заднее ветровое в сборе
Загрузка ...
1 TM6W451032401 Стекло заднее в сборе
Загрузка ...
1.1 TM6W451032402a Стекло
Загрузка ...
1.2 TM6W451032405 Полоса уплотнительная
Загрузка ...
1.3 TS06451016109 Ручка в сборе
Загрузка ...
1.4 TD904.451C.2-09 Шайба стекла внутренняя
Загрузка ...
1.5 TD904.451C.2-10 Шайба стекла внешняя
Загрузка ...
1.6 TS04451013106 Болт пластиковый литой
Загрузка ...
1.7 TS04451013109 Заглушка болта пластиковая литая
Загрузка ...
1.8 TM6W451032416 Шарнир
Загрузка ...
1.8.1 GBT5789-M8X25-8.8-A2L Болт шестигранный фланцевый M8X25-8.8-A2L
Загрузка ...
1.8.2 GBT96.1-8-A3L Шайба большая
Загрузка ...
1.8.3 TM6W451032413 Поручень
Загрузка ...
1.8.4 TM6W451032409 Прокладка резиновая
Загрузка ...
1.8.5 TM6W451032407 Прокладка резиновая
Загрузка ...
1.8.6 TM6W451032412 Петля
Загрузка ...
1.8.7 TM6W451032411 Петля
Загрузка ...
2 TS06451016004 Штифт шарнира заднего стекла
Загрузка ...
3 GBT896-6 Кольцо ограничительное
Загрузка ...
4 TS06451016001 Пружина газовая заднего стекла
Загрузка ...
5 TM6W451032406 Гнездо запирающее
Загрузка ...
6 GBT5789-M6X20-8.8-A2L Болт шестигранный фланцевый M6X20-8.8-A2L
Загрузка ...
Содержащиеся в справочниках-каталогах запасные части и детали не предлагаются к продаже, а носят исключительно информационный характер